Ось экскаватора-погрузчика
1. Двухступенчатый механизм замедления обеспечивает несколько конфигураций соотношения скоростей, удовлетворяя требованиям различных моделей.
2. Система гидравлического усилителя руля обеспечивает плавность и маневренность, повышая маневренность.
3. Цельнолитой корпус оси обладает превосходной жесткостью, обеспечивая надежную несущую способность.
4. Общая конструкция поворотной рамы автомобиля снижает центр тяжести, упрощает установку рамы и значительно повышает безопасность.
ОСНОВНЫЕ ХАРАКТЕРИСТИКИ :
Это оборудование разработано для удовлетворения потребностей различных моделей и оснащено двухступенчатой системой замедления с несколькими вариантами соотношения скоростей. Гидравлический усилитель рулевого управления обеспечивает плавность и гибкость управления, а цельнолитой корпус оси обеспечивает высокую жесткость для надежной переноски нагрузки. Общая конструкция поворотной рамы не только снижает центр тяжести автомобиля, но и упрощает установку рамы и повышает безопасность.
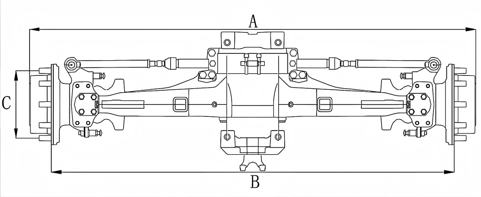
Основные технические параметры:
Тип | LTW32F | LTW43F |
Общая длина моста A | 2150/2350 | 2150/2350 |
Монтажное расстояние обода B (мм) | 1900/2145 | 1900/2145 |
Монтажные размеры обода C (мм) | 10-M22x1.5 on ø 335 | 10-M22x1.5 on ø 335 |
Общее передаточное отношение | 19.04 | 19.038 |
Передаточное отношение колеса | 6.923 | 6.923 |
Максимальный угол поворота | 45° | 45° |
Максимальный выходной крутящий момент (Н·м) | 32000 | 43000 |
Динамическая нагрузка | 9000 | 10000 |
Статическая нагрузка | 22500 | 25000 |



